قفل کن داخلی شفت مدل 3015 ساخت ایران (Internal locking device)
قفل کن 3015 که با نام پاورلاک نیز شناخته می شود، برای برقراری ارتباط بین دو شفت یا یک شفت و هاب که یکی از شفت ها تو خالی می باشد، استفاده می شود. پاورلاک 3015 این اتصال را با استفاده از اصطکاک به منظور انتقال نیرو و گشتاور انجام می دهد. این اتصال با منبسط کردن شفت و هاب توسط قفل کن شفت 3015 صورت می گیرد. ابعاد قفل کن شفت 3015 در انتهای مطالب و در قالب یک جدول ارائه شده است.
عملکرد قفل کن شفت 3015
قفل کن 3015 به این صورت عمل می کند که به همراه شفت کوچکتر داخل شفت تو خالی می شود. هنگامی که این قفل کن وارد شفت تو خالی می باشد با سفت کردن پیچ های آن، قطر داخلی قفل کن 3015 کاهش و قطر خارجی آن افزایش پیدا می کند و در پی آن فاصله بین شفت و هاب جبران شده و عمل منبسط شدن بین شفت و هاب فراهم می شود. در نهایت شفت و هاب توسط قفل کن 3015 به یکدیگر متصل می شوند.
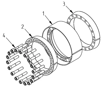
ساختار قفل کن شفت 3015
تصویر زیر ساختار این پاورلاک 3015 را نشان می دهد.
- بوش
- رینگ فشار
- پیچ و مهره

قفل کن ها یا پاورلاک های 3015 در سایز های متفاوت ارائه شده توسط کالا صنعتی آماده نصب بوده و در کمترین زمان ممکن امکان اتصال شفت به هاب را در سایزهای شفت متفاوت از 70 الی 600 میلی متر و انتقال گشتاور 690 الی 1174000 نیوتن متر فراهم میسازد. جهت سفارش و یا کسب هرگونه اطلاعات فنی بیشتر خواهشمند است با کارشناسان فنی کالا صنعتی ارتباط حاصل فرمایید. در ادامه سایزها و ابعاد انواع پاورلاک ها سری 3015 ارائه شده توسط کالاصنعتی آورده شده است.
| L: طول رینگ فشار |
d: قطر شفت |
| L1: فاصله رینگ فشار |
D: قطر داخلی هاب |
| L2: عرض پاورلاک بدون پیچ ها |
Mt: حداکثر گشتاور قابل انتقال |
| L3: عرض پاورلاک با پیچ ها |
Fax: حداکثر نیروی محوری قابل انتقال |
| s: سایز پیچ و مهره ها |
Pw: میانگین فشار روی شفت |
| MA: گشتاور سفت کردن پیچ و مهره ها |
Pn: میانگین فشار روی ها |

L2
mm |
L1
mm |
L
mm |
MA
Nm |
s |
Pn
N/mm2 |
Pw
N/mm2 |
Fax
kN |
Mt
Nm |
d mm D Mm |
| 70 |
60 |
50 |
83 |
M10×055 |
95 |
187 |
197 |
6900 |
110 × 70 |
| 70 |
60 |
50 |
83 |
M10×055 |
109 |
204 |
247 |
9800 |
120 × 80 |
| 70 |
60 |
50 |
83 |
M10×055 |
111 |
200 |
271 |
12200 |
130 × 90 |
| 82 |
70 |
60 |
145 |
M12×060 |
111 |
201 |
364 |
18200 |
145 × 100 |
| 82 |
70 |
60 |
145 |
M12×060 |
111 |
201 |
364 |
20000 |
155 × 110 |
| 82 |
70 |
60 |
145 |
M12×060 |
107 |
185 |
401 |
24000 |
165 × 120 |
| 91 |
79 |
65 |
145 |
M12×065 |
116 |
193 |
510 |
33100 |
180 × 130 |
| 91 |
79 |
65 |
145 |
M12×065 |
117 |
192 |
547 |
38200 |
190 × 140 |
| 91 |
79 |
65 |
145 |
M12×065 |
113 |
179 |
547 |
40900 |
200 × 150 |
| 91 |
79 |
65 |
145 |
M12×065 |
113 |
179 |
583 |
46600 |
210 × 160 |
| 106 |
92 |
78 |
230 |
M14×075 |
106 |
169 |
734 |
62300 |
225 × 170 |
| 106 |
92 |
88 |
230 |
M14×080 |
106 |
169 |
734 |
66000 |
235 × 180 |
| 116 |
102 |
88 |
230 |
M14×080 |
94 |
144 |
782 |
74300 |
250 × 190 |
| 116 |
102 |
88 |
230 |
M14×080 |
113 |
170 |
972 |
97100 |
260 × 200 |
| 124 |
108 |
96 |
355 |
M16×090 |
98 |
148 |
1007 |
110000 |
285 × 220 |
| 124 |
108 |
96 |
355 |
M16×090 |
122 |
181 |
1342 |
161000 |
305 × 240 |
| 124 |
108 |
96 |
355 |
M16×090 |
114 |
167 |
1342 |
174000 |
325 × 260 |
| 130 |
110 |
96 |
690 |
M20×100 |
122 |
196 |
1569 |
219000 |
355 × 280 |
| 156 |
136 |
124 |
690 |
M20×100 |
123 |
195 |
1674 |
251000 |
375 × 300 |
| 156 |
136 |
124 |
690 |
M20×110 |
111 |
181 |
2092 |
334000 |
405 × 320 |
| 156 |
136 |
124 |
690 |
M20×110 |
105 |
170 |
2092 |
355000 |
425 × 340 |
| 179 |
157 |
140 |
930 |
M22×130 |
109 |
160 |
2610 |
469000 |
455 × 360 |
| 179 |
157 |
140 |
930 |
M22×130 |
104 |
152 |
2610 |
495000 |
475 × 380 |
| 179 |
157 |
140 |
930 |
M22×130 |
110 |
159 |
2871 |
574000 |
495 × 400 |
| 179 |
157 |
140 |
930 |
M22×130 |
115 |
165 |
3132 |
657000 |
515 × 420 |
| 179 |
157 |
140 |
930 |
M22×130 |
111 |
157 |
3132 |
689000 |
335 × 440 |
| 179 |
157 |
140 |
930 |
M22×130 |
107 |
151 |
3132 |
720000 |
555 × 460 |
| 179 |
157 |
140 |
930 |
M22×130 |
108 |
150 |
3262 |
782000 |
575 × 480 |
| 179 |
157 |
140 |
930 |
M22×130 |
104 |
144 |
3262 |
815000 |
595 × 500 |
| 179 |
157 |
140 |
930 |
M22×130 |
113 |
155 |
3654 |
950000 |
615 × 520 |
| 179 |
157 |
140 |
930 |
M22×130 |
109 |
150 |
3654 |
986000 |
635 × 540 |
| 179 |
157 |
140 |
930 |
M22×130 |
113 |
155 |
3915 |
1096000 |
655 × 560 |
| 179 |
157 |
140 |
930 |
M22×130 |
110 |
149 |
3915 |
1135000 |
675 × 580 |
| 179 |
157 |
140 |
930 |
M22×130 |
107 |
144 |
3915 |
1174000 |
695 × 600 |